Flugerlebnis

Boeing 787-9 von KLM: Bald mit Premium Eco unterwegs.
Vorbild Air France

KLM bringt echte Premium Economy

Bisher hatte die niederländische Nationalairline nur Economy-Sitze mit mehr Beinfreiheit im Angebot. Nun wird auch bei KLM eine ganz neue Klasse mit eigenen Sitzen eingeführt.
24.02.20 - 16:56
Laura Frommberg
Laura Frommberg
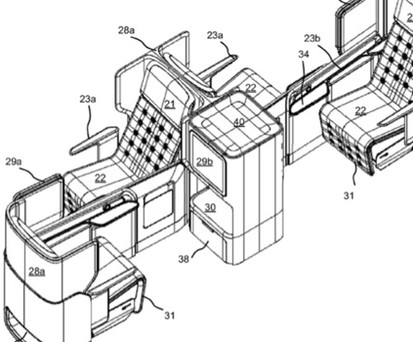
Kuschelig: So stellt sich Zodiac die Hexagon-Konfiguration vor.
Neues Patent

Zodiac spielt Passagier-Tetris

Es ist der Alptraum eines jeden Misanthropen. In einem neu eingereichten Patent will Zodiac Aerospace die Passagiere noch näher zueinander setzen – Augenkontakt ist nicht zu vermeiden.
13.07.15 - 19:03
Laura Frommberg
Laura Frommberg
Wasserhahn im Flugzeug-WC: Trinken verboten.

Rätsel um Fäkalbakterien an Bord

Am Flughafen Hongkong wurden in den Wassertanks von mehreren Maschinen Fäkalbakterien gefunden. Die Leitung des Airports ist sicher, dass das kontaminierte Wasser nicht aus Hongkong stammt.
Stefan Eiselin
Stefan Eiselin
Kabine von Frontier: Wollen bald alle den Mittelsitz?

Bei dieser Airline ist der Mittelsitz begehrt

Der Mittelsitz ist in der Regel der unbeliebteste Platz in einer Reihe. Bei Frontier Airlines will man das nun ändern.
Laura Frommberg
Laura Frommberg
Kabine: Papierartiges Material könnte helfen, die Lärmbelastung im Flugzeug zu senken.

Mit Latex und Klebeband gegen Kabinenlärm

Die ständige Geräuschkulisse im Flugzeug nervt. Neben leiseren Triebwerken gibt es aber eine andere Stelle, an der Flugzeughersteller ansetzen: eine lärmschluckende Innenausstattung.
15.07.15 - 15:30
Anna Baumbach
Flugzeug am Himmel: Die Reisezeiten werden wegen Winden länger.

Klimaerwärmung macht Flüge länger

Eine Studie von Klimaforschern fand heraus, dass Langstreckenflüge zwischen Hawaii und den USA länger werden. Schuld sind veränderte Winde als Folge des Klimawandels. Das kann für die Luftfahrt teuer werden.
Stefan Eiselin
Stefan Eiselin
Personalisiertes Bordmagazin: Dank Facebook wusste die Airline über die Vorlieben der Passagiere Bescheid.

Personalisiertes Bordmagazin für Passagiere

Für das Jubiläum ihrer Verbindung São Paulo - Mailand ließ sich TAM etwas besonderes einfallen: Die Passagiere erhielten eine personalisierte Überraschung – mit der Hilfe von Facebook.
14.07.15 - 15:37
Anna Baumbach
Kuschelig: So stellt sich Zodiac die Hexagon-Konfiguration vor.

Zodiac spielt Passagier-Tetris

Es ist der Alptraum eines jeden Misanthropen. In einem neu eingereichten Patent will Zodiac Aerospace die Passagiere noch näher zueinander setzen – Augenkontakt ist nicht zu vermeiden.
13.07.15 - 19:03
Laura Frommberg
Laura Frommberg
Filme und Serie: Bei Transavia kommen sie aufs Tablet oder Smartphone.

Transavia lässt sich was Neues einfallen

Immer mehr Passagiere bringen ihre mobilen Geräte mit an Bord. Warum sollte man das nicht für die Bordunterhaltung ausnutzen, dachte sich Transavia und spart damit auch viel Geld.
Anna Baumbach
Werbung von Jet2: Manche Passagiere nehmen sie etwas zu ernst.

Jet2 schlägt Alarm wegen Pöbel-Passagieren

Die Sommerferien stehen vor der Tür. Für die Airlines heißt das volle Maschinen – und ganz viel Stress. Die britische Jet2 schlägt jetzt Alarm.
01.07.15 - 12:16
Anna Baumbach
Bordkarte: Frontier streicht die Abflugzeit weg.

Frontier schafft die Abflugzeit ab

Die amerikanische Billigairline Frontier führt künftig die Abflugzeiten nicht mehr auf dem Ticket. Das soll Abläufe vereinfachen und Zeit sparen.
Anna Baumbach
Der neue Sitz Cozy Suite: er ist versetzt und dadurch platzsparend: und soll so für Passagiere und Airlines vorteilhaft sein.

Der Mittelplatz wird zum Lieblingsplatz

Der Mittelsitz ist bekanntlich der unbeliebteste Sitzplatz der Reihe. Das soll sich ändern: Der irische Sitzhersteller Thompson Aero hat ein neues Konzept entwickelt.
Anna Baumbach
Crisp Sandwich: Lecker! Finden zumindest die Iren.

Aer Lingus macht Junk-Food-Fans glücklich

Von wegen Airline-Essen ist immer langweilig. Zumindest, wer es auch mal fett und ungesund mag, kommt bei Aer Lingus nun voll auf seine Kosten.
31.03.17 - 15:41
Laura Frommberg
Laura Frommberg
Businessfrau: Sie braucht wohl einen neuen Koffer.

Handgepäck muss künftig kleiner sein

Die Iata führt eine kleinere und einheitliche Maximalgröße für Handgepäck ein. So sollen alle Passagiere Platz für ihre Tasche erhalten. Die Lufthansa begrüßt den Schritt.
04.12.23 - 14:06
Stefan Eiselin
Stefan Eiselin
Reisende: Ist das Handgepäck schon verstaut, geht das Einsteigen schneller.

Deltas Trick mit dem Handgepäck

Ein Ärgernis beim Fliegen wurde noch immer nicht gelöst: Wie kann man das Einstegen angenehmer machen. Delta testet nun eine neue, ziemlich clevere Methode.
Laura Frommberg
Laura Frommberg
Idee von Ugur Ipek: Inspiriert von Istanbul Brücken.

Besser boarden mit der Zigarre

Mathematik, Psychologie und Philosophie haben es noch nicht geschafft. Nun will ein Designer die Lösung gefunden haben, wie man das Einsteigen ins Flugzeug am schnellsten abwickeln kann.
28.05.15 - 05:21
Laura Frommberg
Laura Frommberg
Singapores First Class: 2017 kommt die Neuversion.

Singapore frischt First Class auf

Die 5-Sterne-Airline stellte gerade erst ihre neue Zwischenklasse Premium Economy vor. Nun plant Singapore Airlines schon bald eine Erneuerung der ersten Klasse und der Business Class.
27.05.15 - 17:52
Laura Frommberg
Laura Frommberg

Video

Meistgelesen

Boeing 737 im Sturzflug: China hält den Abschlussbericht geheim.

Absturz der Boeing 737 von China Eastern: Neue Daten deuten auf Abschalten der Triebwerke hin

D-CNXT: Der Testflieger der Do 228 NXT in der Luft.

Der neue deutsche Turbopropflieger hat seinen Erstflug absolviert

Top-Jobs

k5 logo

Captain A320 (m/w/d)

K5-Aviation GmbH
München, Hamburg, Stuttgart
Feste Anstellung
Business Aviation
Deutschland
Vollzeit
Top jobs
logo-gi-group

Teamleiter (gn) am Flughafen Hamburg

Hamburg
Feste Anstellung
Gi Group Recruiting
Deutschland
Vollzeit
Top jobs
Hahnair Logo

Kapitän C680A (all genders) mit Zusatzaufgaben

Düsseldorf
Feste Anstellung
Hahn Air Lines GmbH
Deutschland
Vollzeit
Top jobs
Hahnair Logo

Deputy Continuing Airworthiness Manager (all genders)

Düsseldorf
Feste Anstellung
Hahn Air Lines GmbH
Deutschland
Vollzeit
Top jobs