Geschichte

Bac 1-11 von Paninternational: Ein solches Flugzeug verunglückte auf der Autobahn nördlich von Hamburg.
Unglück von Paninternational

Als eine BAC 1-11 voller Urlaubsgäste auf der Autobahn A7 bei Hasloh notlanden musste

1968 gegründet, wollte die Münchner Airline den Tourismusboom erobern. Drei Jahre später endete ihre Geschichte abrupt – nach einem fatalen Tankfehler und einer spektakulären Notlandung auf der A7 nördlich von Hamburg.
Detlef Döbberthin
Detlef Döbberthin
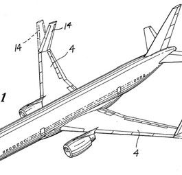
Die Boeing 767 von Air Canada nach der Landung: Sie bekam den Übernamen Gimli Glider.
Gimli Glider

Als ein Umrechnungsfehler fast zum Absturz einer Boeing 767 führte

Ein Rechenfehler, leere Tanks – und ein ehemaliger Segelflieger am Steuer: Vor 40 Jahren wurde der kanadische Ort Gimli zur Bühne eines der spektakulärsten Notlandungen der Luftfahrtgeschichte. Eine Boeing 767 von Air Canada verwandelte sich in ein riesiges Segelflugzeug.
Stefan Eiselin
Stefan Eiselin
Tupolev Tu-154 von n Malev: Ein Bild aus besseren Zeiten.
1910 bis heute

Von Malev zu Wizz Air: Die bewegte Geschichte der ungarischen Luftfahrt

Unbestritten wird die ungarische Luftfahrt heute von Wizz Air beherrscht. Doch das war auch schon einmal anders.
Detlef Döbberthin
Detlef Döbberthin
Die Boeing 707 in Berlin-Tegel: Ein Geschenk von Boeing an Lufthansa.

Die vergessene und verstoßene Boeing 707 von Tegel

Auf dem Gelände von Tegel steht eine Boeing 707 mit spektakulärer Geschichte. Mit der Schließung des Flughafens kommt auch ihr Ende.
Stefan Eiselin
Stefan Eiselin
Aus der Mitarbeiterzeitung Lufthanseat, 1961: So stellte man sich Überschalljets vor.

Lufthansas gescheiterte Überschall-Pläne

Deutschlands größte Fluglinie hatte einst nicht nur drei Concordes bestellt. Auch aus den USA wollte Lufthansa Überschalljets beziehen. Doch dann kam alles ganz anders.
23.10.20 - 07:51
Timo Nowack
Timo Nowack
Der lange Weg der Frauen ins Cockpit

Der lange Weg der Frauen ins Cockpit

Emily Howell Warner ist tot. Sie war die erste Linienpilotin der USA und Vorbild für viele Frauen. Ein Blick auf andere Frauen, die es früh ins Cockpit schafften.
13.07.20 - 09:01
Stefan Eiselin
Stefan Eiselin
Abflugsteig am Flughafen Köln/Bonn heute: Zeitlose Architektur aus den 1970er-Jahren.

Wie am Flughafen Köln/Bonn eine Musikrichtung entstand

Der britische Musiker Brian Eno ist eine Legende. Sein Instrumental-Album «Music for Airports» legte 1978 einen Grundstein des Musikstils Ambient - die Inspiration kam am Flughafen Köln/Bonn.
06.07.20 - 00:09
Felix Stoffels
Felix Stoffels
Flugbegleiter 1955 vor einer Convair CV-340: Die Airline war eben erst entstanden.

Vier schicksalhafte Momente in Lufthansas Geschichte

Ohne das Ja von Großaktionär Heinz Hermann Thiele hätte Lufthansa Insolvenz anmelden müssen. Es ist nicht das erste Mal, dass der Konzern an einem solchen Scheideweg steht.
Stefan Eiselin
Stefan Eiselin
Wie es zum Rauchverbot auf Toiletten kam

Wie es zum Rauchverbot auf Toiletten kam

1973 verstarb ein Großteil der Insassen einer Boeing 707 bei einer Bruchlandung - vermutlich, weil eine Zigarette die Kabine in Brand setzte.
18.06.20 - 06:40
Felix Stoffels
Felix Stoffels

Video

Meistgelesen

Boeing 777X auf dem Gelände in Everett: Immer mehrr fertige Flugzeuge stehen geparkt am Boden.

Bei Boeing in Everett wächst der 777X-Parkplatz

Bildschirmfoto 2026-02-01 um 145448

Airbus A350 in Jubiläumslackierung von Lufthansa landet am Montag in München

Nachthimmel in den Bergen Colorados: 1982 wurde ein Mann gerettet, weil in einem Passagierflugzeug jemand die SOS Zeichen erkannte.

40 Jahre alter Cold Case gelöst - SOS aus Flugzeug von United Airlines erkannt

Top-Jobs

Goldeck Logo

Inflight Service Personnel (M/F/D)

Feste Anstellung
Business Aviation
Goldeck-Flug GmbH
Österreich
Vollzeit
Top jobs
Wien/LOWW/VIE
Pilatus Logo

Mechaniker & Spengler

Flugzeughersteller
Pilatus Flugzeugwerke AG
Schweiz
Vollzeit
Top jobs
Feste Anstellung
Weeze

Verkehrsleiter vom Dienst (w/m/x)

Flughafen Niederrhein GmbH
Weeze
Feste Anstellung
Deutschland
Vollzeit
Top jobs
DERTOUR Logo

Virtuelle Reisebetreuung (m/w/d)

Reiseveranstalter
DERTOUR Destination Services AG
Home Office
Vollzeit
Top jobs