3-3-3-3-Konfiguration: In welchen Flugzeug von Boeing wäre das möglich?

PatentZwölfer-Reihen in der Business Class? Laut Boeing wäre das möglich

Zehn Plätze pro Reihe gibt es eigentlich eher hinten in Langstreckenfliegern. Doch ein Patent von Boeing zeigt, dass es auch vorne möglich wäre - und das sogar mit noch mehr Plätzen.

Top-Jobs

sunny cars

Customer Service Expert (m/w/d)

München / Remote
Feste Anstellung
Autovermietung
Sunny Cars
Deutschland
30 - 40 Stunden
Top jobs
IFFD Flugdienste

Piloten/ First Officer (m/w/d)

IFFD GmbH
Graz/Klagenfurt
Feste Anstellung
NCC-Betrieb
Österreich
Vollzeit
Top jobs
Sparfell Logo

Flight Operations Officer in Vienna (Austria)

Vienna
Feste Anstellung
Business Aviation
SPARFELL Luftfahrt GmbH
Österreich
Vollzeit
Top jobs
Sparfell Logo

First Officer Embraer 550 / Legacy 500 (m/f)

Vienna
Feste Anstellung
Business Aviation
SPARFELL Luftfahrt GmbH
Österreich
Vollzeit
Top jobs

Eigentlich geht der Trend schon eine ganze Weile hin zu mehr Platz in der Business Class. Individueller Gangzugang für alle Reisenden ist inzwischen schon zum Standard geworden. Konfigurationen wie in einigen Boeing 777 von Emirates mit einer 2-3-2-Bestuhlung oder der Boeing 747-400 von Lufthansa gibt es immer seltener.

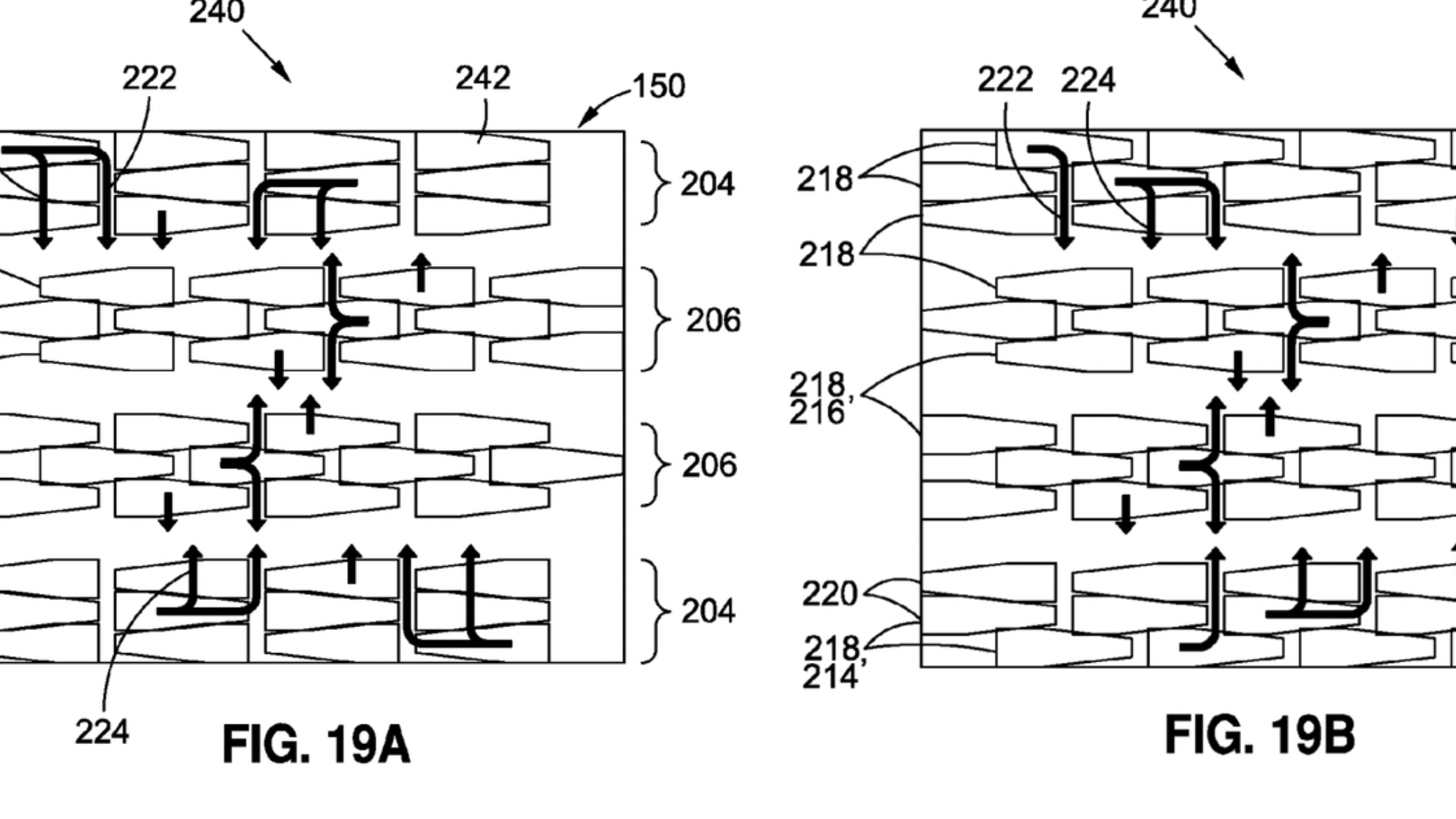
Doch das ist nichts gegen ein Patent von Boeing, welches das Portal Executive Traveller herausgekramt hat. Das Ziel: maximale Verdichtung und damit mehr Ertrag pro Quadratmeter Kabine. Der Hersteller beschreibt in der Anmeldung eine «Passagiersitzanordnung, die die Platzausnutzung optimiert».

Konzept für Flugzeuge mit drei Gängen

Laut den Unterlagen handelt es sich um ein Konzept für Flugzeuge mit drei Gängen, also einer Kabinenbreite, die selbst die größten Boeing-Modelle wie 777 oder 787 übertrifft. Die Sitze wären je nach Design sogar in einem 3-3-3-3-Layout angeordnet - also drei nebeneinander auf jeder Seite und zwischen den Gängen.

2-5-2: So viele Sitze pro Reihe wären mit zwei Gängen möglich.

Selbst im dicht gepackten Layout sollen die Sitze in ein Bett verwandelbar sein - allerdings mit deutlicher Verjüngung von Kopf- zu Fußende. Wer auf der Seite schläft, dürfte hier noch am ehesten zur Ruhe kommen. Boeing betont in dem Patent, alle Reisenden hätten weiterhin Zugang zum Gang. Wirklich ersichtlich, wie komfortabel das möglich wäre, ist aber nicht. Auch, wie der Service funktionieren würde, ist unklar.

Sechs flache Betten pro Reihe in einer Boeing 737?

Das Patent zeigt zahlreiche Varianten, auch 2-5-2- bis 3-4-3-Anordnungen, mit versetzten oder teils auch rückwärts gerichteten Sitzen. Auch Entwürfe für Flugzeuge mit zwei Gängen sind dabei. Und auch für kleinere Flugzeuge wie die Boeing 737 gibt es Ideen. Dort könnten bis zu sechs Business-Class-Liegesitze pro Reihe entstehen, in einer 3-3-Anordnung.

Alle sollen weiter Zugang zum Gang haben - nur wie?

Dass Boeing diese Idee tatsächlich umsetzt, ist eher unwahrscheinlich. Doch oft dienen Patente vor allem dazu, Designs und Konzepte rechtlich zu schützen, nicht unbedingt, um sie zu realisieren. Gerade in Zeiten, in denen kleinere Flieger immer öfter auf Langstrecken unterwegs sind, könnte die Sardinen-Business-Class daher noch mal hervorgekramt werden.

Fundierte Recherchen, Einordnung und Unabhängigkeit: Unsere Fachredaktion kennt die Luftfahrt aus Interviews, Daten und Recherchen vor Ort. Für den Preis eines Kaffees im Monat unterstützen Sie diese Arbeit und lesen aeroTELEGRAPH ohne Werbung. Ihre Unterstützung macht den Unterschied. Jetzt hier klicken und abonnieren

Mehr zum Thema

ticker-boeing-1

Boeing liefert im Februar 51 Flugzeuge aus - deutlich mehr als Airbus

ticker-boeing-1

Boeing startet mit 46 Auslieferungen und netto 112 Bestellungen ins Jahr

Nordlichter begleiteten Flug TOM950P.

In einer Boeing 737 Max 8 von Tui über den Atlantik

Tuifly-Flugzeuge am Flughafen Las Palmas: Die Airline soll künftig mehr sein als nur der Hotelzubringer.

Tui will mit ihren Fluggesellschaften mehr als nur Hotels füllen - sie sollen Gewinn machen

Video

amboseli airstrip under water
Ein Video aus dem Amboseli-Nationalpark in Kenia scheint einen See zu zeigen. Aber nein: Es ist die Start- und Landebahn des Park-Airports. Sie ist vollständig im Wasser verschwunden.
Timo Nowack
Timo Nowack
air canada bridgetown umkehr
Am Flughafen Bridgetown ging auf einmal gar nichts mehr. Flüge von Air Canada und Jetblue mussten auf dem Weg zum internationalen Flughafen von Barbados plötzlich umkehren. Grund war ein spontaner Streik.
Timo Nowack
Timo Nowack
Dassault Falcon 10X: Die Franzosen haben am 10. März das Rollout gefeiert.
Die Entwicklung verzögerte sich immer mehr. Nun hat Dassault endlich ihren neuesten Ultralangstrecken-Businessjet erstmals öffentlich präsentiert. Die Falcon 10X soll mit Geräumigkeit, Reichweite und Geschwindigkeit punkten.
Benjamin Recklies
Benjamin Recklies